
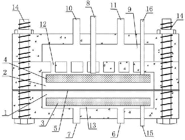
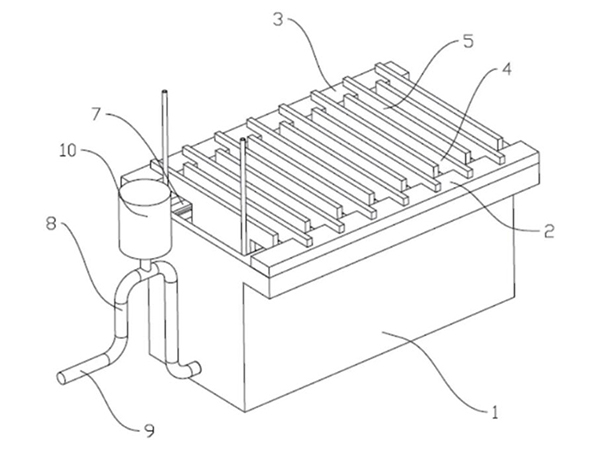
電(dian)(dian)(dian)(dian)解(jie)(jie)槽(cao)(cao)(cao)由槽(cao)(cao)(cao)體、陽(yang)和(he)(he)(he)陰(yin)(yin)組(zu)成,多數用隔膜將陽(yang)室和(he)(he)(he)陰(yin)(yin)室隔開。按電(dian)(dian)(dian)(dian)解(jie)(jie)液(ye)的不同分為水溶液(ye)電(dian)(dian)(dian)(dian)解(jie)(jie)槽(cao)(cao)(cao)、熔融鹽電(dian)(dian)(dian)(dian)解(jie)(jie)槽(cao)(cao)(cao)和(he)(he)(he)非水溶液(ye)電(dian)(dian)(dian)(dian)解(jie)(jie)槽(cao)(cao)(cao)三類。當直流電(dian)(dian)(dian)(dian)通過(guo)電(dian)(dian)(dian)(dian)解(jie)(jie)槽(cao)(cao)(cao)時(shi),在陽(yang)與溶液(ye)界面(mian)處發(fa)生(sheng)氧化(hua)反(fan)應,在陰(yin)(yin)與溶液(ye)界面(mian)處發(fa)生(sheng)還原(yuan)反(fan)應,以(yi)制取所需產(chan)品。對電(dian)(dian)(dian)(dian)解(jie)(jie)槽(cao)(cao)(cao)結構進行優(you)化(hua)設計,合理選擇電(dian)(dian)(dian)(dian)和(he)(he)(he)隔膜材料,是提(ti)高電(dian)(dian)(dian)(dian)流效率、降(jiang)低槽(cao)(cao)(cao)電(dian)(dian)(dian)(dian)壓、節(jie)省能耗的關鍵。
Copyright 威海行雨化工機械有限公司 版權所有 本站關鍵詞:不銹鋼(gang)反應釜,高(gao)壓(ya)反(fan)應釜,加氫反(fan)應(ying)釜,磁力反應(ying)釜